Logitech® MeetUp là Camera hội nghị cao cấp, đặc biệt phù hợp cho các phòng hội nghị và phòng họp nhỏ. Với trường ngắm 120° siêu rộng, Logitech MeetUp đem đến cho bạn không gian hội họp sống động như thật, hình ảnh, âm thanh sắc nét đến từng chi tiết.
Vậy Camera Logitech MeetUp có cấu tạo như thế nào? Làm thế nào để lắp đặt, kết nối và thiết lập MeetUp cho phòng họp trực tuyến của bạn? Cùng theo dõi bài viết dưới đây để tìm hiểu về các bộ phận cũng như cách lắp đặt và sử dụng của chiếc Camera ưu việt này.
1. Hộp của Logitech MeetUp bao gồm những gì?

- Camera Logitech MeetUp kèm loa
- Điều khiển từ xa
- Cap USB 5m
- Bộ đổi nguồn
- Gía treo tường
- Phần cứng dùng để gắn tường
- Tài liệu hướng dẫn
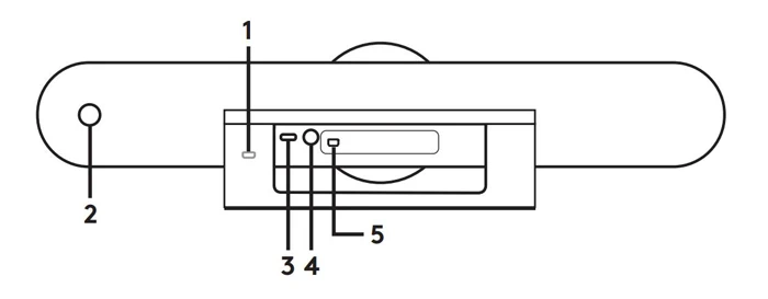
2. Khám phá Camera Logitech MeetUp

- Khóa chống trộm
- Ghép nối điều khiển từ xa
- Cổng USB
- Nguồn
- Micrô mở rộng (tùy chọn)
3. Điều khiển từ xa

- Tắt tiếng Micrô
- Trả lời cuộc gọi
- Kết thúc cuộc gọi
- Ghép nối Bluetooth®
- Tăng/giảm âm lượng
- Phóng to/thu nhỏ
- Xoay/nghiêng Camera
- Nút home
- Nút Preset
4. Cách lắp đặt Camera MeetUp
Camera MeetUp nên đặt càng gần tầm mắt càng tốt. Vị trí hoàn hảo nhất là gắn bên dưới màn hình Tivi.
Bước 1: Đặt Camera trên bàn hoặc trên kệ gần màn hình Tivi
Bước 2: Kết nối dây cáp
Bước 3: Gắn giá đỡ vào tường. Dùng loại vít thích hợp để gắn.

Bước 4: Gắn Camera vào giá đỡ

Bước 5: Gắn thiết bị vào Tivi (Sử dụng giá gắn Tivi cho MeetUp nếu cần thiết).
5. Cách kết nối Camera Logitech MeetUp
Cho dù bạn sử dụng laptop cá nhân hay máy tính văn phòng thì cách kết nối Camera MeetUp với máy tính và màn hình tivi đều như nhau.
Bước 1: Cắm Camera MeetUp vào nguồn điện

Bước 2: Kết nối Camera MeetUp và máy tính bằng dây cáp

Bước 3: Kết nối TV và máy tính

Sơ đồ kết nối:

6. Hướng dẫn sử dụng Logitech MeetUp
6.1. Cài đặt MeetUp làm thiết bị mặc định
Đảm bảo rằng MeetUp được chọn mặc định làm máy ảnh, loa và micrô trong ứng dụng hội nghị truyền hình của bạn. Vui lòng tham khảo tài liệu về ứng dụng để xem thêm hướng dẫn về cách thực hiện thao tác này.
6.2. Lưu ý về Video 4K
Cáp USB 2.0 đi kèm với MeetUp hỗ trợ video FullHD (lên đến 1080p). Nếu bạn định sử dụng Video 4k, vui lòng sử dụng cáp USB 3.0.
6.3. Bắt đầu hội nghị Video
Sau khi cài đặt MeetUp và đảm bảo đó là thiết bị mặc định trong ứng dụng hội nghị video của bạn. Chỉ cần khởi động ứng dụng như bình thường và tận hưởng những trải nghiệm tuyệt vời từ hệ thống âm thanh và video chất lượng của Camera MeetUp.
6.4. Ghép nối MeetUp với một thiết bị Bluetooth
Bạn có thể sử dụng MeetUp cho các cuộc gọi khi được ghép nối với thiết bị Bluetooth. Để ghép nối thiết bị Bluetooth với MeetUp, hãy làm theo các bước đơn giản sau:
- Bước 1: Nhấn và giữ nút Bluetooth trên điều khiển từ xa cho đến khi xuất hiện một ánh sáng màu xanh nhấp nháy ở gần ống kính máy ảnh.
- Bước 2: Thiết lập chế độ ghép nối Bluetooth trên di động của bạn và chọn “Logitech MeetUp”.
Bây giờ Camera MeetUp đã sẵn sàng sử dụng cho các cuộc gọi, hội nghị video. Nhấn nút Bluetooth trên điều khiển từ xa để ngắt kết nối với thiết bị Bluetooth. Nhấn lại lần nữa để kết nối thiết bị.
6.5. Kết nối Camera với điều khiển từ xa
Camera MeetUp và điều khiển từ xa được ghép nối sẵn khi sản xuất. Tuy nhiên, trong trường hợp điều khiển từ xa của bạn bị mất/hỏng và bạn cần thay thế một thiết bị mới. Bạn có thể thực hiện theo các bước sau để thực hiện quá trình kết nối:
- Bước 1: Nhấn và giữ nút trên mặt sau của máy ảnh cho đến đèn LED nhấp nháy màu xanh lam.
- Bước 2: Nhấn và giữ nút Bluetooth trên điều khiển từ xa khoảng 10 giây để thiết lập chế độ ghép nối.
- Bước 3: Khi điều khiển từ xa và máy ảnh đã được ghép nối, đèn LED sẽ ngừng nhấp nháy.
- Nếu ghép nối không thành công, đèn LED sẽ tiếp tục nhấp nháy. Bắt đầu lặp lại từ bước 2
7. Video hướng dẫn
Thông tin liên hệ
CÔNG TY TNHH CUNG ỨNG NGỌC THIÊN
Tel: 028 777 98 999 – Hotline/Zalo: 028 777 98 999 (Mr.Thoại)
Email: info@vnsup.com






