Bộ ghép nối Rally Mic Pod Cat Coupler sử dụng cáp CAT để mở rộng cáp Rally Mic Pod và Rally Mic Pod Hub, giúp linh hoạt hơn trong quá trình lắp đặt hai sản phẩm này. Sử dụng nó như thế nào? Bài viết sẽ hướng dẫn cách sử dụng Rally Mic Pod Cat Coupler
Có cái gì trong hộp Rally Mic Pod Cat Coupler?
- Đầu nối x2
- Cáp
- Tài liệu người dùng

Lập kế hoạch lắp đặt
- Rally Mic Pod CAT Coupler hỗ trợ cáp CAT có chiều dài tối đa là 20m (65,6 ft)
- Các loại cáp được hỗ trợ: CAT6 SFTP/SSTP
LƯU Ý: Mặc dù cáp CAT được sử dụng để kéo dài chiều dài của Pod Mic Rally và Hub Pod Mic Rally nhưng chúng không chuyển đổi các bộ phận này thành thiết bị ethernet.
QUAN TRỌNG: Trong mọi trường hợp, micrô hoặc cáp CAT được sử dụng cùng với sản phẩm này không được kết nối trực tiếp với cổng mạng, máy tính, bộ chuyển mạch mạng hoặc cổng RJ45 trên Rally Bar, Rally Bar Mini hoặc Rally Plus. Làm như vậy có thể làm hỏng thiết bị được kết nối và không được bảo hành.
Lắp đặt
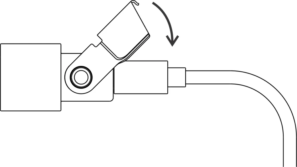
1: Gắn cáp đi kèm vào một trong các đầu nối và gập khóa vào đúng vị trí.



2: Gắn cáp này vào cổng mic pod trên Rally Bar, Rally Bar Mini hoặc Table Hub trên Rally Plus.
3: Gắn cáp CAT có độ dài thích hợp vào cả hai đầu nối.
4: Gắn đầu nối vào phích cắm Mic Pod hoặc Mic Pod Hub và gập khóa vào đúng vị trí.
Cấu hình được hỗ trợ
Rally Bar và Rally Bar Mini
Rally Bar với Rally Mic Pod Cat Coupler hỗ trợ kết nối tối đa hai Hub Pod Mic Rally và bốn Pod Mic Rally. Sự kết hợp giữa Pod Mic Rally và Hub Pod Mic Rally có thể theo bất kỳ thứ tự nào, nhưng Mic Pod Cat Coupler phải được kết nối với Rally Bar.

Rally Bar Mini với Rally Mic Pod CAT Coupler hỗ trợ kết nối tối đa hai Hub Pod Mic Rally và ba Pod Mic Rally. Sự kết hợp giữa Pod Mic Rally và Hub Pod Mic Rally có thể theo bất kỳ thứ tự nào nhưng Bộ ghép nối Mic Pod CAT Coupler phải được kết nối với Rally Bar Mini.

Rally và Rally Plus
Với cấu hình cơ bản, Rally và Rally Plus với Rally Mic Pod CAT Coupler hỗ trợ kết nối tối đa bảy Hub Pod Mic Rally và/hoặc Pod Mic Rally. Sự kết hợp giữa Pod Mic Rally và Hub Pod Mic Rally có thể theo thứ tự nhưng Bộ ghép nối Mic Pod CAT phải được kết nối với Rally Plus Table Hub.

Rally và Rally Plus cũng hỗ trợ cáp CAT dài tới 3 m (9,8 ft) giữa mỗi Rally Mic Pods và/hoặc Rally Mic Pod Hubs. Một lần nữa, trong cấu hình này, hỗ trợ kết hợp tối đa bảy Pod Mic Rally và/hoặc Rally Mic Pod Hub.

Nhãn cảnh báo
Để giúp nhắc nhở người dùng không kết nối cáp CAT với bất kỳ thiết bị mạng nào, Logitech đã đính kèm nhãn cảnh báo có thể được cài đặt trên cáp CAT như minh họa bên dưới:

Xem thêm:
- Các câu hỏi thường gặp về Rally Camera
- Hướng dẫn sử dụng Webcam Logitech Rally
- Giới thiệu tổng quan về camera hội nghị Logitech Rally
- So sánh Logitech Rally Bar và Rally Bar Mini
- Thiết bị họp trực tuyến Logitech Rally Bar – Review chi tiết
- Loa hội nghị Logitech Rally Speaker: Review chi tiết
THÔNG TIN LIÊN HỆ
CÔNG TY TNHH CUNG ỨNG NGỌC THIÊN
Điện thoại: 028 777 98 999
Hotline/Zalo: 028 777 98 999
Email: info@vnsup.com





