TOA DM-1200 – Micro điện động cầm tay

Liên hệ
Tính năng nổi bật
✔ Thiết kế cho ứng dụng giọng nói, âm thanh rõ ràng.
✔ Công tác ON/OFF trượt nhẹ nhàng có khoảng cách ngắn.
✔ Thân micro chắc chắn triệt tiêu tiếng ồn.
✔ Đầu nối XLR và cáp 10 m có phích cắm điện thoại.
✔ Vỏ micro được làm bằng nhôm cứng.
◼Mã hàng: TOA DM-1200 / Bảo hành: 12 tháng / Xuất xứ: Philippines

Giới thiệu Micro đơn hướng TOA DM-1200

micrô cầm tay dm-1200
Micrô cầm tay DM-1200
  • Micrô TOA DM-1200 là micrô đơn hướng cung cấp khả năng tăng cường âm thanh rõ ràng nhất quán phù hợp cho việc sử dụng giọng nói cầm tay. Thân micrô này được chế tạo chắc chắn bằng kẽm đúc và được thiết kế để giảm chuyển đổi và xử lý tiếng ồn.
  • Ngoài ra, Micro còn đi kèm với chức năng điều khiển từ xa để kích hoạt công suất của bộ khuếch đại hoặc bộ chuông.

micro-dien-dong-cam-tay-toa-dm-1200MICRO DIEN DONG CAM TAY TOA DM 1200, MICRO TOA DM 1200, MICRO DM 1200

Thông số kỹ thuật DM-1200

thông số kỹ thuật dm-1200
Thông số kỹ thuật TOA DM-1200
Loại Mircro cuộn động
Hướng tính Đơn hướng
Trở kháng 600 Ω, cân bằng
Độ nhạy -52 dB (1 kHz 0 dB=1 V/Pa)
Đáp tuyến tần số 50 – 12,000 Hz
Dây nối Dây bọc 1 lõi, không cân bằng
Độ dài dây 10 m
Cổng kết nối Jack phone
Công tắc BẬT/TẮT loại trượt có khoảng ngắn
Vật liệu
  • Thân micro: Kẽm đúc màu xám
  • Đầu micro: Nhôm đúc, dây thép mạ kẽm, màu xám
Kích thước φ39.5 × 163 mm (thân micro)
Khối lượng 265 g (chưa bao gồm dây nối)
Phụ kiện đi kèm Giá đỡ Micro (W5/16 , W5/8 , W3/8)…x1

Tính năng sản phẩm Micro TOA DM-1200

  • Micro điện động cầm tay sử dụng cho phát biểu và nhạc nền.
  • Công tác ON/OFF trượt nhẹ nhàng có khoảng cách ngắn
  • Công tắc nguồn và tay cầm giảm nhiễu.
  • Đầu nối XLR và cáp 10 m có phích cắm điện thoại.
  • Có giá đỡ micro đi kèm.
  • Vỏ micro được làm bằng nhôm cứng.
  • Ngõ ra dạng cân bằng giúp kết nối ở khoảng cách xa.

Hướng dẫn sử dụng

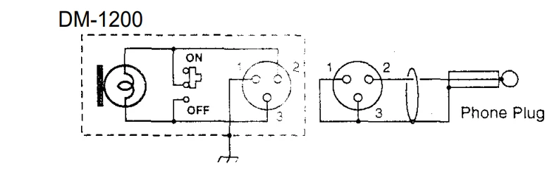
BÊN NGOÀI SƠ ĐỒ MẠCH
micro điện động dm-1200 sơ đồ mạch DM-1200

TÀI LIỆU DATASHEET TẠI ĐÂY

***

Để được tư vấn thêm về thông tin sản phẩm, quý khách vui lòng gọi đến số HOTLINE của công ty 02877798999Công ty TNHH Cung Ứng Ngọc Thiên luôn sẵn sàng giải đáp mọi thắc mắc của quý khách hàng về sản phẩm của công ty.

Thương hiệu

Toa

Micro

Đánh giá sản phẩm

Đánh giá

Chưa có đánh giá nào.

Hãy là người đầu tiên nhận xét “TOA DM-1200 – Micro điện động cầm tay”